
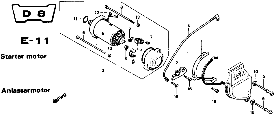
| Abb.
- Nr. |
Teile
- Nr. |
Beschreibung |
CBX B+C |
| 1 |
11342-422-000 |
Distanzstück |
1 |
| 2 |
11344-422-000 |
Kettenschutz |
1 |
| 3 |
31200-MA2-000 |
Anlasser, komp |
1 |
| 4 |
31201-292-158 |
Kohlenset |
1 |
| 5 |
31204-292-158 |
Kohlenfeder |
2 |
| 6 |
31205-413-780 |
Schraube, Anlasserdeckel |
2 |
| 7 |
31206-402-008 |
O-Ring 60x1.4 |
1 |
| 8 |
32601-422-000 |
Massekabel |
1 |
| 9 |
90048-422-003 |
Spezialschraube 6x64 |
2 |
| 10 |
90542-422-000 |
Befestigungsgummi B |
2 |
| 11 |
91309-300-000 |
O-Ring 24.4x3.1 |
1 |
| 12 |
94002-06000 |
Mutter 6mm |
1 |
| 13 |
94111-05000 |
Federscheibe 5mm |
2 |
| 14 |
94111-06000 |
Federscheibe 6mm |
1 |
| 15 |
95700-06020-00 |
Flanschschraube 6x20 |
1 |
| 16 |
95700-06028-07 |
Flanschschraube 6x28 |
2 |
zurück zur Hauptseite